Butterfly valves are often treated as a single product category, yet in critical isolation service the internal geometry makes a measurable difference. In particular, the distinction between a Triple Offset Butterfly Valve and a Six-Eccentric Butterfly Valve is not theoretical. It affects how the seal is formed, how contact stress is distributed, and how wear develops over the operating life of the valve.

For procurement teams, project engineers, and EPC contractors, these differences influence:
- Long-term shutoff reliability
- Stability of sealing performance after many cycles
- Required operating torque and actuator margins
- Maintenance intervals and refurbishment strategy
This article explains, in practical engineering terms, how triple offset and six-eccentric designs differ, what those differences mean for sealing mechanics and wear, and how to think about selection for demanding isolation duties.
You maybe interested in USA Carter Valve Inc. Launches CARTERUS Six-Eccentric Butterfly Valve for Critical Service Applications.
Why offset geometry matters in butterfly valves
In any butterfly valve, a circular disc rotates about a shaft to open or close the flow path. The way that disc approaches and contacts the seat determines whether the sealing action is dominated by sliding, rolling, or cam-like compression. This, in turn, affects:
- Where contact pressure is concentrated
- How sensitive sealing is to wear or deformation
- How torque rises near the closed position
Early concentric designs rely on continuous interference between disc and seat. This means the sealing surfaces rub during every operation, which is acceptable in many low-demand services but becomes a predictable wear mechanism at higher temperatures, higher pressures, or in abrasive media.
Offset designs were introduced to control the kinematics of closing: the disc is lifted away from the seat during most of the stroke and only engages the sealing surfaces near the end of travel. The objective is to reduce unnecessary sliding and to form the seal primarily by controlled compression.

What defines a Triple Offset Butterfly Valve?
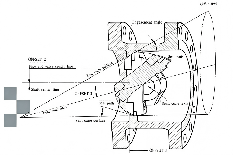
A Triple Offset Butterfly Valve (TOV) uses three geometric offsets between the shaft centreline, the disc centreline, and the seat cone axis. Together, these offsets create a cam-like motion during closing:
- The disc separates quickly from the seat when opening
- Sliding contact is largely avoided during most of the stroke
- Sealing occurs mainly at the final closing angle
In practice, a properly designed triple offset valve is typically associated with metal-to-metal or composite sealing concepts for higher-duty services. The quality of shutoff depends on factors such as:
- Accuracy of the machined conical sealing surfaces
- Stiffness of the disc and shaft under pressure load
- Condition of the sealing edges after repeated cycles
Sealing mechanics in a triple offset design
The seal ring and seat are arranged on a conical geometry. As the disc rotates into the closed position, the geometry forces the sealing surfaces together. The resulting contact is often best described as a narrow line or band near full closure. This concentrated contact produces high local contact stress, which is beneficial for achieving tight shutoff.
The trade-off is that wear is also concentrated in this same region. Over time, local damage, polishing, or plastic deformation in the sealing zone can have a noticeable effect on leakage performance. This does not make the design unsuitable; it defines a predictable wear and maintenance pattern in demanding services.
More reading about valve geometry definitions (ISA standards).
What is different about a Six-Eccentric Butterfly Valve?
A Six-Eccentric Butterfly Valve builds on the same principle of controlled, cam-like closure but introduces additional eccentricities in the geometry. The purpose is not simply to add complexity, but to further refine how the disc approaches and loads the sealing surface.
With multiple eccentricities, the designer can:
- Modify the path by which the disc engages the seat
- Control the transition from non-contact to contact more precisely
- Influence how contact stress is distributed along the sealing interface
- Improve tolerance to small deflections, thermal effects, or assembly variations
From an operational point of view, the design intent is to achieve more stable sealing behaviour over time, particularly in services where temperature, pressure, or cycling frequency make wear progression a critical concern.
Sealing contact: concentrated versus managed distribution
A useful way to compare triple offset and six-eccentric designs is to look at how the sealing contact is formed and sustained.
Triple offset: controlled but concentrated contact
In many triple offset designs, the sealing interface behaves like a narrow band of contact near the closed position. The advantages are clear:
- A well-defined cam action
- High local contact pressure to support tight shutoff
- Minimal rubbing during most of the operating stroke
However, this also means:
- Wear is concentrated in a specific zone
- Local damage can have a disproportionate impact on leakage
- Sealing performance may become more sensitive to small geometric changes over long service periods
Six-eccentric: managed contact path and load distribution
By introducing additional eccentricities, the contact path can be reshaped so that:
- Engagement between disc and seat is more progressive
- The effective sealing area can be broader or differently distributed
- Contact stresses can be rebalanced rather than focused in a single narrow band
In practical terms, this can reduce peak local stress at the sealing edges and make the valve less sensitive to localised wear or minor deformation. The result is often a more gradual change in sealing performance as the valve accumulates operating cycles. The exact behaviour always depends on materials, manufacturing accuracy, and assembly tolerances, but the design objective is clear: improved long-term stability rather than only initial tightness.
Wear mechanisms in service
When sealing performance degrades, the underlying causes are usually one or more of the following:
- Adhesive or abrasive wear at the sealing interface
- Edge rounding or polishing of sealing lips
- Local plastic deformation under repeated high contact stress
- Damage from particles trapped during closing
- Changes in geometry due to thermal cycling or structural deflection
In triple offset valves
Because the sealing load is concentrated, the primary wear zone is well defined. Once that zone degrades beyond a certain point, leakage can increase noticeably. Maintenance typically focuses on refurbishment or replacement of sealing components to restore the original geometry and contact conditions.
In six-eccentric valves
By distributing contact and reshaping the engagement path, wear can be spread over a larger or differently shaped area. This does not eliminate wear, but it can change how quickly and how abruptly sealing performance deteriorates. In many applications, this translates into longer intervals before performance falls outside acceptable limits.
Torque behaviour and actuator implications
Sealing geometry also influences the torque curve, particularly near the closed position:
- Triple offset designs often show a sharp rise in torque at the final closing angle as the cam action forces the seal into contact.
- Six-eccentric designs allow the engagement to be shaped differently, which can modify how quickly torque builds and where the peak occurs.
For the user, this has two practical consequences. First, actuator sizing should always be based on the actual torque requirements of the specific valve configuration and service conditions, not on nominal size alone. Second, a more progressive seating action can reduce peak loads in the drive train, which may improve long-term reliability of the actuation system. Any torque figures must be verified against defined test conditions and operating assumptions.
Implications for severe-service isolation
In applications such as high-temperature process isolation, cyclic operation, or services with low tolerance for leakage, the difference between triple offset and six-eccentric designs becomes a matter of lifecycle risk management rather than catalogue preference.
A triple offset valve remains a well-established solution for many metal-seated isolation duties. A six-eccentric valve is typically considered when the priority shifts toward:
- Greater stability of sealing performance over time
- Reduced sensitivity to localised wear or small geometric changes
- More controlled evolution of contact conditions under repeated cycling
In both cases, suitability depends not only on geometry but also on materials, manufacturing quality, assembly, and validation testing. The number of offsets alone is not a guarantee of performance.
Practical selection questions
Rather than focusing only on the design label, engineers and buyers should ask:
- How is sealing contact formed and distributed?
- Is the design intended to concentrate or spread contact stress?
- What wear mechanisms are expected in this service?
- How does the torque curve behave near closure?
- What maintenance or refurbishment strategy is assumed over the valve’s life?
- Under which test conditions has shutoff performance been verified?
These questions help align valve geometry with the actual operating duty and project risk profile.
Summary
- A Triple Offset Butterfly Valve uses three offsets to achieve cam-like closure with concentrated sealing contact at final shutoff.
- A Six-Eccentric Butterfly Valve introduces additional geometric control to reshape the contact path and distribute sealing loads, with the aim of improving long-term sealing stability and wear behaviour.
- The real engineering difference lies in how contact stress is applied, how wear accumulates, and how sensitive sealing performance is to local damage or deformation.
- Selection should be based on service conditions, cycling expectations, maintenance philosophy, and validated performance data, not on offset count alone.
If you are evaluating triple offset versus six-eccentric designs for a specific isolation duty and need to relate geometry to your actual operating conditions, you can discuss your application with the Carter Valve engineering team via the contact page . Providing service conditions, operating cycles, and performance expectations will allow a more precise, application-based recommendation rather than a catalogue-level comparison.
